4500 Ford Backhoe Wiring Diagram

4500 Ford Backhoe Wiring Diagram H1 Wiring Diagram

4500 Ford Backhoe Wiring Diagram H1 Wiring Diagram

4500 Ford Backhoe Wiring Diagram H1 Wiring Diagram

4500 Ford Backhoe Wiring Diagram H1 Wiring Diagram

Ford Backhoe Wiring Diagram H1 Wiring Diagram

Ford Backhoe Wiring Diagram H1 Wiring Diagram

Ford 555c Backhoe Wiring Diagram Best Wiring Diagram

Ford 555c Backhoe Wiring Diagram Best Wiring Diagram

1970 Ford 4500 Tractor Service Repair Manual

1970 Ford 4500 Tractor Service Repair Manual

Ford 545 Tractor Wiring Diagram Wiring Diagram Images

Ford 545 Tractor Wiring Diagram Wiring Diagram Images

Ford 545 Tractor Wiring Diagram Wiring Diagram Images

1994 ford 4630 diesel tractor wiring schematic for the starting system.

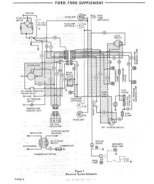
4500 ford backhoe wiring diagram. 4500 tractor wiring diagram. 4500 is basically a 4000 with implements here is a wiring diagram. The fordson tractor pages forum bull. 1997 ford expedition car radio wiring diagram car radio battery constant 12v wire.

Collection of ford tractor ignition switch wiring diagram. There was no switch on it when i bought it. How to read serial numbers. A wiring diagram is a streamlined traditional photographic depiction of an electric circuit.

Ford wiring diagram. Neil reitmeyer rob g don derek barkley dan dibbens ed gooding and tyler neff. Images about ford 4500 backhoe parts diagram anything. It shows the parts of the circuit as streamlined forms and the power as well as signal connections between the gadgets.

All 4500 attachments. Points coil 12v dash panel ammeter terminal block 4 key switch starter button chas s grd strap single wire alternator 1952. Apr 22 2016 ford cars trucks. Fo s 3400etc ffoorrdd service manual 3400 3500 3550 4400 4500 5500 5550 volume 1 of 5 this is a manual produced byjensales inc without the authorization of ford or it s successors ford and it s successors are not responsible for the quality or accuracy of this manual.

Additional plate inside the ford 4500 hood panel on the right side. View topic 1000 series wiring diagram i am not sure about the starter terminals but i guess you mean the terminals that connect the solenoid to the starter motor. Serial number stamped on the right side of the ford 4000 clutch housing behind the starter. Call our toll free customer support line today if you have any questions.

Ford 4500 industrial tractor installing new ignition switch. 1 800 853 2651 available monday friday 7 00 3 30pm pst 9 00 5 30pm cst 10 00 6 30pm est.

Xx 8600 Ford New Holland Tractor Parts Diagrams On Home Diagram

Xx 8600 Ford New Holland Tractor Parts Diagrams On Home Diagram

Ford 4500 Tractor Loader Backhoe Tractor Loader Tractors Backhoe

Ford 4500 Tractor Loader Backhoe Tractor Loader Tractors Backhoe

Ford 545d Ford Tractors Tractors Ford

Ford 545d Ford Tractors Tractors Ford

Ford 555 Backhoe Parts Diagram Wiring Site Resource

Ford 555 Backhoe Parts Diagram Wiring Site Resource

Case 580k Backhoe Parts Case Excavator Heavy Equipment Heavy

Case 580k Backhoe Parts Case Excavator Heavy Equipment Heavy

Pin On Used Backhoe Loaders For Sale

Pin On Used Backhoe Loaders For Sale

Details About 2 New Caterpillar Cat Decal Backhoe Arm Logo Sticker

Details About 2 New Caterpillar Cat Decal Backhoe Arm Logo Sticker

Iveco Mp 4500 Service Manual Owners Manuals Repair Manuals Manual

Iveco Mp 4500 Service Manual Owners Manuals Repair Manuals Manual

Ford 5000 Rowcrop Tractors Ford Tractors New Holland Tractor

Ford 5000 Rowcrop Tractors Ford Tractors New Holland Tractor

Pdf Cat Caterpillar 424d Backhoe Loader Service And Repair Manual

Pdf Cat Caterpillar 424d Backhoe Loader Service And Repair Manual

Kubota Workshop Service Repair Manual Kubota F2880 F3680 Rck72

Kubota Workshop Service Repair Manual Kubota F2880 F3680 Rck72

Pin On Download

Pin On Download

Pin On Opuninad

Pin On Opuninad

Pin On Minis

Pin On Minis